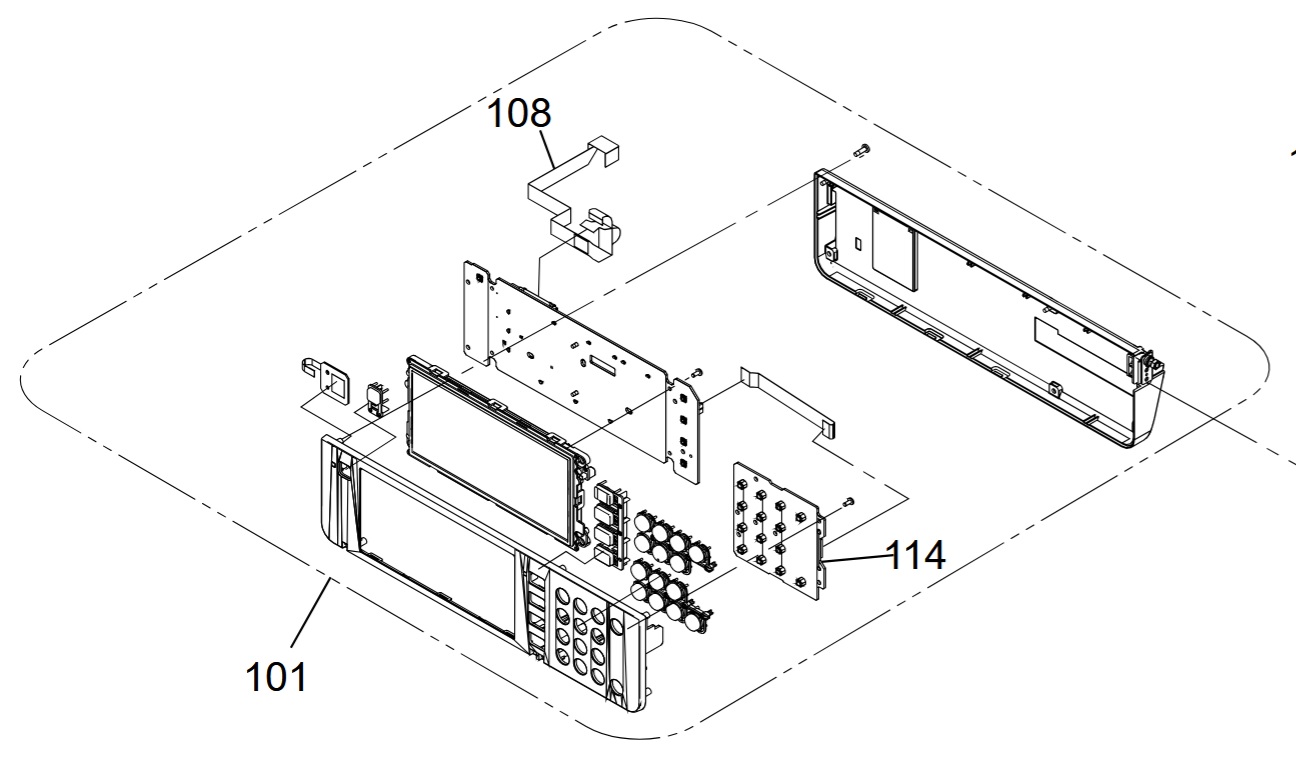
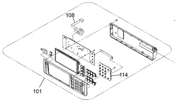
PAINEL PARA Epson WorkForce Pro WF-M5799

Código: 1758124 Marca:

A garantia do produto (de 90 dias) é fornecida pelo fabricante mediante o uso de tinta original e a instalação da peça por empresa credenciada Epson.

Pague com
  • Pix
Selos
  • Site Seguro

MGF MANUTENÇÃO DE IMPRESSORAS E COMERCIO LTDA- EPP - CNPJ: 10.822.020/0001-00 © Todos os direitos reservados. 2026


Para continuar, informe seu e-mail